
一、概述:
XGN-12型交流高压金属封闭开关设备适用于三相交流50HZ,额定电压12KV的户内高压配电装置。广泛应用于工业及民用电缆环网及供电终端,特别适用于城市居民小区、小型二次变电所、开闭所、工矿企业、商场、机场、地铁、中小型电厂、医院、体育场、铁路、隧道等电路系统中作为接收和分配电能之用,是最新一代空气绝缘的金属封闭开关设备,具有结构简单、操作灵活、安装方便、联锁可靠等特点,。
二、性能特点
1、内置真空断路器,采用真空灭弧室、免维护、寿命长、操作次数可达到10000次;也可根据用户要求内置负荷开关或熔断器。
2、采用先进科学的轻型设计、体积小;
3、配带智能控制器,可设置过流保护、速断保护、失压自动跳闸、来电延时自动重合、瞬时性故障自动复位、永久性故障自动闭锁等多种保护功能,并且可实时上传各种数据。
4、配置联锁装置:具有防止带负荷分、合隔离开关;防止误分、误合断路器或负荷开关;防止接地开关处于闭合位置时送电;防止在带电时误合接地开关;防止误入带电隔室等功能
5、上下隔离开关均选用具有双断口的GN30-10(D)旋转隔离开关(额定电流3150A的开关柜下隔离选用GN22-10非旋转型)。
三、型号说明
四、使用环境条件:
1、户内、环境温度:上限+40℃ 下限-15℃
2、相对湿度:日平均值不大于95%,月平均值不大于90%
3、海拔高度:不超过1000M
4、地震烈度:不超过8度
5、无火灾、爆炸危险、严重污染、化学腐蚀及剧烈震动的场所。
五、主要技术参数:

六、典型操作简介:
1、停电操作
分断断路器―――将闭锁机构上的小手柄扳到分断闭锁位置―――将闭锁机构专用操作棒插入闭锁机构上的下隔离操作孔内,从上往下拉,拉到下隔离分断位置―――取出操作棒,再插入闭锁机构上的上隔离操作孔内,从上往下拉,拉到上隔离分闸位置,再将操作手柄插入闭锁机构的接地开关操作孔内,从下往上推,使接地开关合闸―――将闭锁机构上的小手柄扳到检修位置―――打开前门―――取出后门程序锁钥匙,打开后门―――停电操作完毕。
2、送电操作
将后门关好锁定,取出钥匙并放入前门内―――关闭前门,将闭锁机构上的小手柄扳到“分断闭锁”位置,自动锁定了前门―――将操作棒插入闭锁机构上的接地开关操作孔内,从上往下拉,使接地开关分闸―――取出操作棒,插入闭锁机构上的上隔离孔内,从下往上推,推到上隔离闭合位置―――取出操作棒插入闭锁机构上的下隔离操作孔内,从下往上推,推倒下隔离闭合位置―――将手柄扳到“工作”位置,这时可将断路器合闸。
七、开关柜典型方案的结构及外形尺寸:

XGN2-12(Z)07方案结构及外形尺寸图
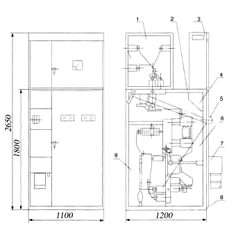
1.母线室 2.压力释放通道 3.仪表室 4.组合开关室 5.手力操作及连锁机构 6.主开关室
7.电磁或弹簧机构 8.接地母线 9.电缆室

XGN2-12(Z)08方案结构及外形尺寸图
1.仪表室 2.压力释放通道 3.组合开关室 4.手力操作及连锁机构 5.主开关室
6.电磁操动机构 7.接地母线 8.母线室 9.附柜
九、订货须知
定货时用户需提供下列资料:
1、 主接线方案编号及单线系统图;
2、 开关柜排列图、平面布置图(或并柜图);
3、 二次回路接线原理图、端子排列图。
4、 开关柜主要元器件的型号、规格、数量;
5、 特殊器件请提供厂家及相应技术资料;
6、 主母线的规格、材质,柜体颜色等;
7、 需要母线桥时,提供跨距和高度尺寸;
8、 备品、备件的名称及数量;
9、 开关柜使用在特殊条件时应在订货时提出。
名称 | 器件代码 | 型号规格 | 数量 | 单位
| 备注 |
隔离开关 | QS | GN30-10/630 | 1 | 台 | 长葛 |
高压真空断路器 | QF | VS1-1250/31.5 | 1 | 台 | 森源 |
电流互感器 | TA1 2 | LA10 | 3 | 台 | 瑞特 |
电压互感器 | TV | JDZ-10 10K/0.1K | 3 | 个 | 瑞特 |
高压熔断器 | FU | RN2-6/0.5A | 3 | 个 | 宝光 |
穿墙套管 | / | CB-10Q/400 | 1 | 套 | 德力西 |
机械闭锁 | / | JSXGN-10S | 1 | 套 | 江山 |
低压熔断器 | 1-5FU | RT18-32 6A | 2 | 个 | 德力西 |
传感器 | CG | DXN8B | 3 | 个 | 长葛 |
高压带电显示 | DXG | DXN8B-71 | 1 | 个 | 长葛 |
柜内照明 | 1MD | CM-1 AC220V | 1 | 套 | 德力西 |
避雷器 | F | HY2.5W5-8/19 | 1 | 套 | 德力西 |
零序互感器 | TA3 | LJΦ75 | 1 | 台 | 瑞特 |
柜体 | XGN | 1100*1200*2650 | 1 | 台 | 缔造 |
辅件 | 一批 | 缔造 | |||
柜体尺寸 | 2650mm×1150mm×1250mm | ||||
XGN2-12高压进,出线柜(主要器件明细)
上一篇:YB系列户外预装式变电站